医院动态

喜讯!省皮肤病医院再获国家知识产权局实用新型专利!..

2021-04-07 10514
字号:

日前,省皮肤病医院又获得一项国家知识产权局颁发的实用新型专利证书,专利名称为一种卡尺式皮肤组织液采集的揪取装置”,这是继去年后,我院获得的第二项实用新型专利。




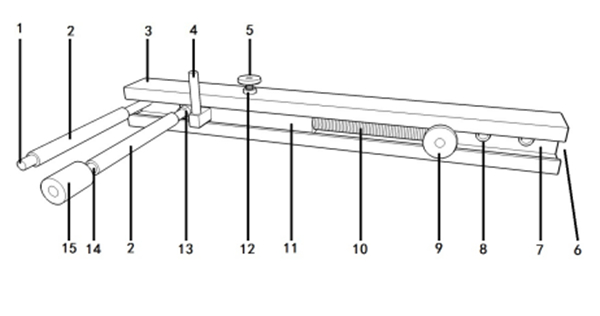
发明人之一黄佳,是我院临床分枝杆菌实验室副主任,长期从事分枝杆菌实验研究,在日常组织液取材中深感皮肤组织液取材的不够完善与安全,本次申请的新型专利就是基于日常检验需求而做出的技术改进。该专利提供了一种卡尺式皮肤组织液采集的揪取装置,利用卡尺抵弹式的原理和绞辊滚动的原理设计,使得操作力度可控可调,利用皮肤与辊之间的摩擦力使得揪取效果明显,尤其对于传染性疾病患者。




该专利使操作者在操作时不再与病人皮肤直接接触,刮取组织时分手操作安全可靠;有效解决了目前徒手采集组织液存在的弊端和不足,可完全实现对相应活动皮肤的揪取、施压和固定,同时也填补了相关领域缺乏相关医疗器械的空白,为患者皮肤组织液采集提取提供辅助器械。

多年来,省皮肤病医院注重科技创新,鼓励科研人员结合临床开展各种创新研究,并出台了科研奖励政策,单位科技实力和学科水平稳步提升,科研在推动医院发展方面作用日益凸显。

供稿:科教科



浙江省皮肤病医院 版权所有 | 湖ICP备14036960号-4 | 技术支持:新慧医联